моторчик пневмопривода



srw

Иркутский Острог
28 Июнь 2006
776
73
0
СПб - Иркутск
Езжу на ...
Ford Mustang 1967 Shelby GT500
Ответ: моторчик пневмопривода

кнопка и датчик разные вещи, распишите поподробнее.
- это обыкновенная "лягушка"(концевой выключатель).
вот эта "лягушка" обыкновенная перестала нормально работать.

включаешь раздаткой 4WD, лягушка замыкается и подаёт сигнал на компрессор, который начинает качать в пневмомуфту редуктора.

вместо "лягушки" поставил кнопку.
 

Ptizelov

Эксперт
27 Апрель 2011
3,617
618
113
63
Москва ЗАО
Езжу на ...
Tracker J20 АКПП 99 гв
1. Может сгореть моторчик т.к он не должен работать более 10 сек., но это не так страшно как,
2. Если лампочка мигает, то логически рассуждаем что в системе всё таки создаётся давление которое тут же стравливается, мембрана пневмопривода переднего моста то надвинет шестерню в мосту то отпустит, естественно начинает происходить износ этих шестерён, который нам не нужен, поэтому в конце моего опуса рекомендация--- лечите включение моста или используйте только на 2 WD, пока не вылечите.
Чинить , конечно же надо , только :
1. ЭБУ выключит насос если не будет давления . Включит его только при повторном включении ПП .
2. Шестерни главной пары редуктора (это не мост!) всегда в зацеплении . Соединяется/разъединяется блокировочная муфта , там не шестерни а "шипы-пазы" . Так как в раздатке есть синхронизатор и сначала передний кардан разгоняется до скорости заднего , износа самой муфты при включении/выключении (как и , например , при включении передач на МКПП) практически нет .
 

Ptizelov

Эксперт
27 Апрель 2011
3,617
618
113
63
Москва ЗАО
Езжу на ...
Tracker J20 АКПП 99 гв
Вы мне неинтересны.
Да собственно , такая же фигня ...:)
Поэтому , мой пост ни в коей мере не был адресован Вам . ;)
Прочитав эту тему с начала , можно найти и номера насосов , и принцип работы и принцип диагностики . Так что Ваш опус просто повторение . Я же просто предостерег других от не слишком грамотно составленого заключения .
P.S. А "мост" и "независимая подвеска" (у нас впереди именно "независимая") - понятия несовместимые .
 
Последнее редактирование модератором:

dimsert

Друг Сузуководов
30 Ноябрь 2008
1,407
310
0
СПб
Езжу на ...
SGV 2.5 АКПП 1999 USA
Пожалуй поддержу Ptizelov, а то так и будем на "шестнадцатых радиусах" ездить... Не знаю, как и что называют на технических сайтах (примеры приветствуются), ну а в технических книгах про эту машину мост только один - задний (REAR AXLE) и называется он "мостом" именно потому, что является не только корпусом для элементов трансмиссии (редуктора, дифференциала и т.д.), но и элементом подвески, т.е. несет на себе тяжесть авто. Передняя же подвеска независимая и не имеет никаких "мостов". Передний редуктор с дифференциалом стоит в отдельном корпусе (HOUSING DIFFERENTIAL), который крепится к раме через сайлентблоки и не имеет к подвеске никакого отношения.
П.С. а пост свой зря удалили - про методику проверки то всё верно. А то, что повторяется - так форум показывает, что, несмотря на неоднократные повторения принципа работы и методик проверки всё равно часто вопросы начинаются "с ноля", так что - чем чаще, тем лучше.
 
Последнее редактирование модератором:
  • Нравится
Реакции: 1 человек


dimsert

Друг Сузуководов
30 Ноябрь 2008
1,407
310
0
СПб
Езжу на ...
SGV 2.5 АКПП 1999 USA
Ну вот и разобрались, если свалить в кучу раму, подвеску и трансмиссию, то всё это в целом будет "Ведущий мост", точнее в данном случае "Комбинированный мост". Правда в той статье, на рисунке комбинированного моста, почему то забыли указать немаловажную для нас деталь - картер главной передачи(а у нас там предмет обсуждения - актуатор пневмопривода).
А про книгу Вы очень правильно заметили - переведена в России, в оригинале этот раздел называется просто DIFFERENTIAL (FRONT), может и не совсем точно, но без "моста". Ещё две составляющие нашего "моста" описываются в двух других разделах Front Suspension и Front Drive Shaft/Shaft Bearing, я уже не говорю про раму (в легионовском букваре кстати так же, только в тех разделах они почему то забыли дописать, что это всё к переднему мосту относится).
 

dimsert

Друг Сузуководов
30 Ноябрь 2008
1,407
310
0
СПб
Езжу на ...
SGV 2.5 АКПП 1999 USA
Пожалуй я всё таки останусь при своем мнении и буду дальше считать, что задний редуктор с дифференциалом на моем авто стоят в заднем мосту, а передний редуктор с дифференциалом в отдельном корпусе, который при желании я могу снять в сборе и машина при этом не упадет на землю. Ибо мост по определению должен что то держать, а корпус переднего редуктора ничего не держит, более того, на другом авто с похожей подвеской, между приводами может оказаться например коробка передач - у меня мозг свернется её передним мостом назвать :)
 

dimsert

Друг Сузуководов
30 Ноябрь 2008
1,407
310
0
СПб
Езжу на ...
SGV 2.5 АКПП 1999 USA
...
А вот когда там (спереди, на другом авто с похожей подвеской) будет стоять коробка перемены передач, то это будет совсем другая история и название. У меня была такая машина и мостом это не называлось.
С чегойто вдруг? Чем корпус редуктора хуже корпуса КПП? Нет уж мил человек, мост так мост.
 
Последнее редактирование модератором:

Ptizelov

Эксперт
27 Апрель 2011
3,617
618
113
63
Москва ЗАО
Езжу на ...
Tracker J20 АКПП 99 гв
2 dimsert
Бестолку с ним спорить .
Раньше информация шла на бумажных носителях , и проходила жесткую редактуру у профессионалов . Выпустив несколько десятков тысяч экземпляров , приходилось отвечать за свои слова - это же не сайт , который можно после подправить . Теперь же сайты создают все кому не лень . Много чуши идет от гуманитарных переводчиков : почему-то "Front Axle" переводят как "передний мост" , а "не передняя ось" , ну нет в английском языке понятия "мост" . Та же переднеприводная Ауди во многих каталогах имеет обозначение Drive Front Axle - "передняя ведущая ось" . Вот достаточно профессиональный подход с использованием русскоязычных технических терминов : http://www.autoventuri.ru/Off/Math/Pod.htm .
Что уж там говорить : люди не знают , что старинный мост Тимкен (разрезной) - тогда и речи о независимой подвеске не шло - отличается от моста Спайсер (неразрезного) всего лишь тем что у Тимкен два чулка скручены между собой болтами (у Спайсер - одно целое). Но суть-то одна : мост всегда воспринимает на свои чулки нагрузку от авто .
В общем , Вы правы . Неумение фильтровать появившееся обилие информации приводит к идиотским ляпам : куча сайтов предлагает колесные диски радиусом 14"/15"/16" (рулетку бы взяли , придурки) ; после маркетингового хода "интегрированная рама" , называют СГВ Нью , Чероки , Гранд Чероки и т.п. "авто рамной конструкции" ; стоит набрать в поисковике "троит двигатель" , тут же получишь информацию об одном неработающем цилиндре из четырех - то что термин "троит" относится не к количеству цилиндров , а к количеству тактов (четырехтактник же) многие даже не подозревают ...
 
Последнее редактирование модератором:
  • Нравится
Реакции: 3 человек

igoryashka197

Наш человек
Премиум-аккаунт
22 Июль 2012
193
13
18
Москва
Езжу на ...
Suzuki Grand Vitara XL-7 2006
2 dimsert
Бестолку с ним спорить .
Раньше информация шла на бумажных носителях , и проходила жесткую редактуру у профессионалов . Выпустив несколько десятков тысяч экземпляров , приходилось отвечать за свои слова - это же не сайт , который можно после подправить . Теперь же сайты создают все кому не лень . Много чуши идет от гуманитарных переводчиков : почему-то "Front Axle" переводят как "передний мост" , а "не передняя ось" , ну нет в английском языке понятия "мост" . Та же переднеприводная Ауди во многих каталогах имеет обозначение Drive Front Axle - "передняя ведущая ось" . Вот достаточно профессиональный подход с использованием русскоязычных технических терминов : http://www.autoventuri.ru/Off/Math/Pod.htm .
Что уж там говорить : люди не знают , что старинный мост Тимкен (разрезной) - тогда и речи о независимой подвеске не шло - отличается от моста Спайсер (неразрезного) всего лишь тем что у Тимкен два чулка скручены между собой болтами (у Спайсер - одно целое). Но суть-то одна : мост всегда воспринимает на свои чулки нагрузку от авто .
В общем , Вы правы . Неумение фильтровать появившееся обилие информации приводит к идиотским ляпам : куча сайтов предлагает колесные диски радиусом 14"/15"/16" (рулетку бы взяли , придурки) ; после маркетингового хода "интегрированная рама" , называют СГВ Нью , Чероки , Гранд Чероки и т.п. "авто рамной конструкции" ; стоит набрать в поисковике "троит двигатель" , тут же получишь информацию об одном неработающем цилиндре из четырех - то что термин "троит" относится не к количеству цилиндров , а к количеству тактов (четырехтактник же) многие даже не подозревают ...
Честно скажу, я даже и не подозревал, что находился во власти такой темной, беспросветной и элементарной неграмотности)))) спасибо что просветили))) надо будет в инете посм, что за лингвистические ляпы и понять "в чем прикол"
 




SpOOky

Наш человек
24 Март 2010
237
17
0
Одесса
Езжу на ...
Grand Vitara 2.0 '03 5D
Ребят подскажите пожалуйста. По номеру моторчика пневмопривода 27940-65D02 выдает аналог 27940-65D03 который получается на порядок дешевле.
Не смог найти информацию о том взаимозаменяемы ли данные номера?
Машина из подписи. 2003 2.0 АТ Европа.
 

nikon

Сузуковод со стажем
Премиум-аккаунт
4 Июль 2010
1,430
312
83
Поволжье
Езжу на ...
SGV 99`
Chevrolet Tracker 00`
Ребят подскажите пожалуйста. По номеру моторчика пневмопривода 27940-65D02 выдает аналог 27940-65D03 который получается на порядок дешевле.
Не смог найти информацию о том взаимозаменяемы ли данные номера?
Машина из подписи. 2003 2.0 АТ Европа.
По всем каталогам информация, что 27940-65D03 -это официальная замена производителем устаревшего артикула 27940-65D02, поэтому, думаю, подойдет 100%.
 
  • Нравится
Реакции: 1 человек

SpOOky

Наш человек
24 Март 2010
237
17
0
Одесса
Езжу на ...
Grand Vitara 2.0 '03 5D
Пока не знаю. У меня весь срок владения при включении полного привода периодически моргает лампа 4WD. Полный привод работал без нареканий, но слышно что насос подкачивает иногда воздух, иногда если застрял где то, включение полного привода может сопровождаться ударом, поэтому решил заняться диагностикой по любезно описанной тут процедуре исключая 1-насос 2-шланги 3-диафрагму.
Вот прицениваюсь к запчастям, чтоб быть готовым к сюрпризам.
Просто насос на 02 в конце стоит от 350 долларов а 03 по каталогу нашел за 146.
 

nikon

Сузуковод со стажем
Премиум-аккаунт
4 Июль 2010
1,430
312
83
Поволжье
Езжу на ...
SGV 99`
Chevrolet Tracker 00`
Пока не знаю. У меня весь срок владения при включении полного привода периодически моргает лампа 4WD. Полный привод работал без нареканий, но слышно что насос подкачивает иногда воздух, иногда если застрял где то, включение полного привода может сопровождаться ударом, поэтому решил заняться диагностикой по любезно описанной тут процедуре исключая 1-насос 2-шланги 3-диафрагму.
Вот прицениваюсь к запчастям, чтоб быть готовым к сюрпризам.
Просто насос на 02 в конце стоит от 350 долларов а 03 по каталогу нашел за 146.
По-моемому, чтобы исключить насос, достаточно заглушить его выходную воздушную магистраль, потом покататься с включеным ПП и посмотреть, будет моргать лампа 4WD или нет.
Далее с воздушной магистралью так же.
Потом останется смотреть штуцер в корпусе редуктора, ну и пневму/диафрагму.
 



dimsert

Друг Сузуководов
30 Ноябрь 2008
1,407
310
0
СПб
Езжу на ...
SGV 2.5 АКПП 1999 USA
Если виноватым окажется всё таки насос, то не вижу смысла покупать новый - на 99% негерметичность штуцеров внутри. На моей памяти всем удавалось его отремонтировать (естественно тем, кто осмелился его разобрать).
 
Последнее редактирование модератором:

artemcus

Бывает здесь
5 Ноябрь 2013
56
6
0
39
Челябинск
Езжу на ...
Suzuki Grand Vitara 2004г., J20A, МКПП
Всем здравствуйте! Подскажите пожалуйста, из моего наблюдения за лампочкой полного привода. Включаю полный привод, загорается лампочка как и положено. Начинаю трогаться и, в момент непосредственного трогания (когда еще педаль сцепления не до конца отпустил), лампочка гаснет на долю секунды и вновь загорается. Именно в момент трогания. Затем можно кататься хоть час или два на полном приводе - не моргнет ни разу. И при повторном трогании с места она уже не моргает. Эта закономерность отслеживается в большинстве случаев когда включается полный привод. Что это может быть?
 

dimsert

Друг Сузуководов
30 Ноябрь 2008
1,407
310
0
СПб
Езжу на ...
SGV 2.5 АКПП 1999 USA
Видимо при включении ПП зубчатый венец в дифе не всегда сразу входит в зацепление с корпусом сателлитов ( попадает "зуб на зуб"). А когда трогаетесь, то зубцы венца "соскальзывают" в пазы корпуса сателлитов и происходит зацепление. При этом объем мембраны увеличивается, давление падает и насос догоняет давление до номинала. Является ли это неисправностью - я не знаю, по идее нет, но у себя вроде не замечал такого эффекта.
 
  • Нравится
Реакции: 2 человек

nikon

Сузуковод со стажем
Премиум-аккаунт
4 Июль 2010
1,430
312
83
Поволжье
Езжу на ...
SGV 99`
Chevrolet Tracker 00`
Видимо при включении ПП зубчатый венец в дифе не всегда сразу входит в зацепление с корпусом сателлитов ( попадает "зуб на зуб"). А когда трогаетесь, то зубцы венца "соскальзывают" в пазы корпуса сателлитов и происходит зацепление. При этом объем мембраны увеличивается, давление падает и насос догоняет давление до номинала. Является ли это неисправностью - я не знаю, по идее нет, но у себя вроде не замечал такого эффекта.
ИМХО так и есть.
Когда у меня стоял хорошо отрегулированный пер. редуктор, без видимых следов и признаков износа блока сателлитов и люфта подшипников, такого эффекта не наблюдал. Сейчас стоит "временный" с явными признаками износа, лампа 4WD подмаргивает разок в начале движения при включении ПП.
 

artemcus

Бывает здесь
5 Ноябрь 2013
56
6
0
39
Челябинск
Езжу на ...
Suzuki Grand Vitara 2004г., J20A, МКПП
ИМХО так и есть.
Когда у меня стоял хорошо отрегулированный пер. редуктор, без видимых следов и признаков износа блока сателлитов и люфта подшипников, такого эффекта не наблюдал. Сейчас стоит "временный" с явными признаками износа, лампа 4WD подмаргивает разок в начале движения при включении ПП.
Т.е. это говорит об износе элементов переднего редуктора? А каковы признаки износа, помимо моргающей на старте лампочки? К слову передний мост не шумит, не гудит, сальники держат, пробег 86000км (настоящий), 2 предыдущих хозяина (машина была у них в одной семье) толком и бездорожья не видела...
 





nikon

Сузуковод со стажем
Премиум-аккаунт
4 Июль 2010
1,430
312
83
Поволжье
Езжу на ...
SGV 99`
Chevrolet Tracker 00`
Т.е. это говорит об износе элементов переднего редуктора? А каковы признаки износа, помимо моргающей на старте лампочки? К слову передний мост не шумит, не гудит, сальники держат, пробег 86000км (настоящий), 2 предыдущих хозяина (машина была у них в одной семье) толком и бездорожья не видела...
Я так не утверждаю, просто констатировал факт на своем примере с двумя пер. редукторами.
А Ваш случай, скорее всего, описал dimsert в пост №79.
 

Kolbasatnik

Свой в доску
16 Апрель 2009
609
26
0
Магадан
Езжу на ...
SUZUKI Гранд Витара XL-7 2003 г.в., 2736 куб. 24 клапана H27A двиг.
А вот еще тема для размышлений. (СГВ XL7) Промучившись годик с замерзанием трубок включения ПП, штуцер заборный воздуха переподключил к корпусу фильтра воздушного ПОСЛЕ ФИЛЬТРА и два года горя не знал. А в эту зиму опять начались глюки с с включением ПП. Авто стоит на улице, после заезда в тепло и замены масла редукторов и раздатки (меняли на СТО, залили по их словам синтетику Кастрол 75W90 - может, что не то пишу, сам не сильный спец), стало глючить включение ПП. Если выключу и постою ночь, потом не всегда включается. Лампа горит постоянно. Вчера авто помыл опять на теплой мойке, выключил ПП,выехал, стоял на холоде и утром ПП не включился. День проездил почти нормально, потом попал на лед во дворе и ни с места. Лампа горит. Попросил товарища посмотреть - вращаются ли передние колеса, хоть одно - стояли, заразы, задние шлифовали, передние стояли. Заехал в теплый гараж, снял трубку с редуктора ПП, воздух шел хорошо, насос работает, воды со льдом вроде не вылетело, затыкаешь пальцем - загорается лампа 4WD, мотор останавливается и стоит. Утечек не слышно, ждал с заткнутой трубкой несколько минут, насос молчал. Отпускаешь - тухнет лампа и включается мотор. Одел трубку, вывесил колеса - ПП включается. Выехал, поехал домой - все ОК. Уровень масла в редукторе нормальный.
Есть еще непонятка - если еду по территории стоянки - сухой бетон - и выключаю ПП - звук такой в движении, как будто шарики перекатываются, тут же включаю ПП, включается, звук пропадает. Утром выезжаю с выключенным ПП - ничего не слышно. Если долго ездить с выключенным ПП, тоже вроде ничего не слышно.
Вопрос 1, не совсем идиотский - может ли оказаться вода в полости мембраны? Как ее с минимальными затратами оттуда извлечь?
Вопрос 2 ну совершенно идиотский, может ли оказаться слишком густое "летнее" масло в редукторе после замены, и после выключения ПП и ночного замерзания оно не дает включиться ПП (не пускает что-то, на что давит мемебрана). Пробеги утром маленькие, жену и себя на работу, меньше 15 км, потом целый день стоит на морозе и дальше обратным маршрутом домой, ночевка. Редуктор может не успеть разогреться.
Если у кого есть рисунок узла мембрана - неизвестно что - редуктор, буду благодарен.
 

Leschik_

Наш человек
28 Декабрь 2006
124
19
0
Санкт-Петербург
Езжу на ...
Chevrolet Tracker, 2л., 129л.с., 1999 г.
Вопрос 1, не совсем идиотский - может ли оказаться вода в полости мембраны? Как ее с минимальными затратами оттуда извлечь?

Возможно пневмонасос воду накачал. А вот как ее оттуда извлечь ? Может с теплом само пройдет.
 

SpOOky

Наш человек
24 Март 2010
237
17
0
Одесса
Езжу на ...
Grand Vitara 2.0 '03 5D
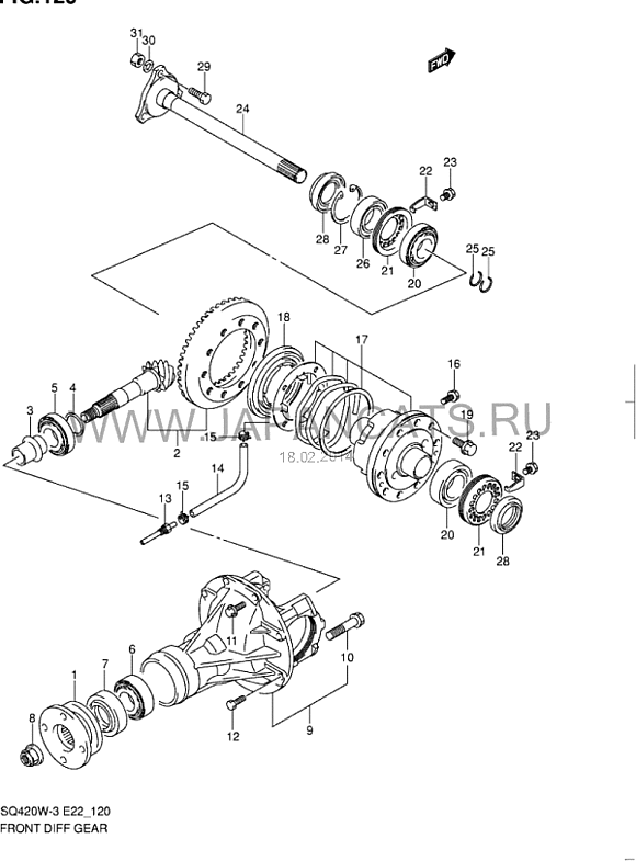
Leschik_ это фотка детали на вашу машину? Интересно просто почему у меня на 2003 год рейстал идет другой номер детали 27750-67D01.
Я же правильно на схеме нашел эту мембрану она под номером 18?
212874680.gif
 


Leschik_

Наш человек
28 Декабрь 2006
124
19
0
Санкт-Петербург
Езжу на ...
Chevrolet Tracker, 2л., 129л.с., 1999 г.
Насчет номера стопроцентно не уверен. Снимок с номером нашел у себя в архиве, два других сдернул с номера. По датам первого снимках - это был 2010 год. Муфту сам не покупал, все сделали в сервисе, у них была в наличии. У Вас немножко другая машина, соответственно и номерок ножет быть другой. Та муфта, которую мне отдали после ремонта, очень похоже на те, что на снимках.

По схеме - да, она под номером 18.
 
Последнее редактирование модератором:

Kolbasatnik

Свой в доску
16 Апрель 2009
609
26
0
Магадан
Езжу на ...
SUZUKI Гранд Витара XL-7 2003 г.в., 2736 куб. 24 клапана H27A двиг.
Спасибо всем! А как она работает? Если по рисунку вышеприведенному пояснить?
 

nikon

Сузуковод со стажем
Премиум-аккаунт
4 Июль 2010
1,430
312
83
Поволжье
Езжу на ...
SGV 99`
Chevrolet Tracker 00`
Leschik_ это фотка детали на вашу машину? Интересно просто почему у меня на 2003 год рейстал идет другой номер детали 27750-67D01.
Я же правильно на схеме нашел эту мембрану она под номером 18?
Потому что на рестайл с пневмовключением и с 2001 по 2003 идет именно этот номер - 27750-67D01, а на дорестайл с 1998 по 2001 - 27750-85F41 и разница у них в размере, обозначенном красными стрелками на первом фото в пост №84.
Остальные две фото мои.
Спасибо всем! А как она работает? Если по рисунку вышеприведенному пояснить?
Изображение схематическое, по нему не понять воочию принцип включения.
 
Последнее редактирование модератором: