Swift 3 (прошлое поколение)

Justy

Осваивающийся
11 Июль 2008
15
14
0
71
Москва
Езжу на ...
Автомобиль
Ответ: Swift 3 (прошлое поколение)

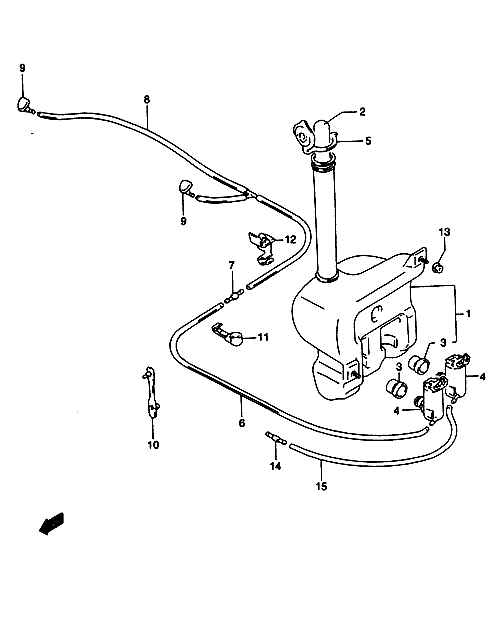
Привет Всем. Я здесь новенький. Только вчера купил свифта 2002 г.в.седан...всё бы хорошо если бы не НО
-не работает омыватель лобового стекла - (моторчик вообще не подает признаков жизни)
-пробит радиатор кондиционера
радиатор кондиционера потерпит, а вот без стеклоомывателя сейчас оч плохо. Подскажите пожалуйста где находится этот самый моторчик омывателя.
Надеюсь жидкость ты заливал и знаешь куда (горловина рядом с расширетельным бачком, спереди с права) там есть поплавок уровня.И горловина спускается вниз к бочку, на котором находяться моторчики т,е это всё под поддоном аккумулятора.
 

Вложения

  • Нравится
Реакции: 1 человек


Vau

Продвинутый новичок
28 Сентябрь 2009
28
6
0
49
Ростов-на-Дону
Езжу на ...
suzuki grand vitara 2003 год. 2,5
Ответ: Swift 3 (прошлое поколение)

Привет Всем. Я здесь новенький. Только вчера купил свифта 2002 г.в.седан...всё бы хорошо если бы не НО
-не работает омыватель лобового стекла - (моторчик вообще не подает признаков жизни)
-пробит радиатор кондиционера
радиатор кондиционера потерпит, а вот без стеклоомывателя сейчас оч плохо. Подскажите пожалуйста где находится этот самый моторчик омывателя.

Могла просто вода в бачке перемёрзнуть и поэтому он не жужжит.
 

AlMaster

Редкий гость
5 Декабрь 2010
10
0
0
МО
Езжу на ...
Suzuki Baleno, седан, 1999 г.в.,1,6 АКПП
Ответ: Swift 3 (прошлое поколение)

Могла просто вода в бачке перемёрзнуть и поэтому он не жужжит.
я вот и хотел попробовать найти моторчик и разморозить, еще косяк сегодня был, двигатель греется, а радиатор и печка холоные((( Грешу на термостат....:(
 

AlMaster

Редкий гость
5 Декабрь 2010
10
0
0
МО
Езжу на ...
Suzuki Baleno, седан, 1999 г.в.,1,6 АКПП
Ответ: Swift 3 (прошлое поколение)

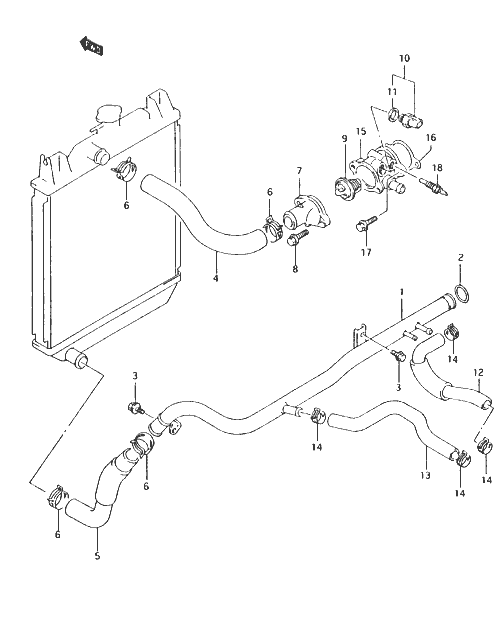
спасибо, жидкость заливал туда куда надо...под аккумулятором еще не смотрел, завтра гляну; а нет такой же наглядной картинки по системе охлаждения?) А то беда с термостатом походу - первый день при движении по городу температура в норме, а когда по шоссе быстро едешь прям на глазах стрелка падала на "С" - cold, даж картонку ставил перед радиатором, а сегодня радиатор холодный и печка холодом обдувает, а двигатель чуть-ли не перегревается(((
 

Justy

Осваивающийся
11 Июль 2008
15
14
0
71
Москва
Езжу на ...
Автомобиль
Ответ: Swift 3 (прошлое поколение)

спасибо, жидкость заливал туда куда надо...под аккумулятором еще не смотрел, завтра гляну; а нет такой же наглядной картинки по системе охлаждения?) А то беда с термостатом походу - первый день при движении по городу температура в норме, а когда по шоссе быстро едешь прям на глазах стрелка падала на "С" - cold, даж картонку ставил перед радиатором, а сегодня радиатор холодный и печка холодом обдувает, а двигатель чуть-ли не перегревается(((
Может это тебе пригодиться, не знаю какой у тебя двигатель и трансмисия и кстати, что залито- знаешь?
 

Вложения

  • 10.3 KB Просмотры: 928
  • 9.2 KB Просмотры: 760
  • Нравится
Реакции: 1 человек


AlMaster

Редкий гость
5 Декабрь 2010
10
0
0
МО
Езжу на ...
Suzuki Baleno, седан, 1999 г.в.,1,6 АКПП
Ответ: Swift 3 (прошлое поколение)

Может это тебе пригодиться, не знаю какой у тебя двигатель и трансмисия и кстати, что залито- знаешь?
Спасибо ещё раз) Скорее пригодиться чем нет, оч похоже на моё) Двигатель G13BB, механика 5-ст... Что залито не знаю, наверн тосол какой-нибудь.
 

Justy

Осваивающийся
11 Июль 2008
15
14
0
71
Москва
Езжу на ...
Автомобиль

Погок

Осваивающийся
23 Ноябрь 2008
18
0
0
36
Москва
Езжу на ...
Были 2 сузуки свифт.2001 год.1.3л акпп.продаю по запчастям.
Ответ: Swift 3 (прошлое поколение)

Чувак я тебя спасу =) у меня радиатор кондея и бачок вроде тоже есть =)
отдам не дорого =) набери мне на 8 925 007 18 11 Иван.

И вообще если кому что надо звоните. продаю остатки своей малышки,в метлом не хочу сдавать т.к. знаю ситуацию с запчастями на наших девочек =)
 

AlMaster

Редкий гость
5 Декабрь 2010
10
0
0
МО
Езжу на ...
Suzuki Baleno, седан, 1999 г.в.,1,6 АКПП
Ответ: Swift 3 (прошлое поколение)

Чувак я тебя спасу =) у меня радиатор кондея и бачок вроде тоже есть =)
отдам не дорого =) набери мне на 8 925 007 18 11 Иван.

И вообще если кому что надо звоните. продаю остатки своей малышки,в метлом не хочу сдавать т.к. знаю ситуацию с запчастями на наших девочек =)
Бачок разморозил залив в него разогретой незамерзайки-работает отлично. На счет радиатора кондея я б с радостью...тока с финансами щас не важно совсем( :( Ппж обращусь, вдруг останется
 

Kirill Nefedov

Редкий гость
14 Февраль 2010
8
0
0
Переславль-Залесский
Езжу на ...
Swift 2002 1.3 86 Hp
Ответ: Swift 3 (прошлое поколение)

Вопрос на засыпку: значит на морозе (примерно -16 и ниже), когда двигатель холодный, стартер крутит и никаких эмоций у движка не происходит. Завожу с толкача, грею, и в итоге все начинает заводиться с ключа! Что это может быть: втягивающее или моховик? Лечится ли втягивающее от морозов?
 




vad73

Продвинутый новичок
15 Май 2009
35
8
8
Москва
Езжу на ...
Suzuki NEW SX4 1.6 AT 2WD GLX (2G), 2019
Ответ: Swift 3 (прошлое поколение)

Очень похоже на дохлый / недозаряженный аккум, особенно если поездки небольшие или стоите подолгу.
 

Andry Gomel

Осваивающийся
16 Май 2010
20
1
0
Гомель
Езжу на ...
Suzuki Swift 1.0 2000 года, хетчбэк.
Ответ: Swift 3 (прошлое поколение)

как сменить лампочки подсветки щитка приборов? Помогите, едешь в слепую ночью!

Добавлено через 5 минут
Просто один раз пытался и вроде понял, что придется снимать чуть ли не всю преднюю панель! Помогите, подскажите! Заранее спасибо!
 

Blur

Продвинутый новичок
19 Июль 2010
30
3
0
46
Ростов-на-Дону
Езжу на ...
Suzuki Cultus 1.0
Ответ: Swift 3 (прошлое поколение)

Тебе придется откручивать рулевой вал.
После праздников отсканирую страницы из книги, и выложу.
 

Andry Gomel

Осваивающийся
16 Май 2010
20
1
0
Гомель
Езжу на ...
Suzuki Swift 1.0 2000 года, хетчбэк.
Ответ: Swift 3 (прошлое поколение)

Спасибо! Руль снимать нужно будет или нет? Спасибо огромное, с наступающим! Дааааа! Из-за пары лампочек столько работы!

Добавлено через 2 минуты
Значит руль снимать не надо. Вал открутил, руль с колонкой опустились вниз и можно приборку извлеч. Вот так проблема!

Добавлено через 3 минуты
у меня есть руководство по машине (книга в твердом синем переплёте) - там есть такая картинка?
 

vad73

Продвинутый новичок
15 Май 2009
35
8
8
Москва
Езжу на ...
Suzuki NEW SX4 1.6 AT 2WD GLX (2G), 2019
  • Нравится
Реакции: 1 человек



Andry Gomel

Осваивающийся
16 Май 2010
20
1
0
Гомель
Езжу на ...
Suzuki Swift 1.0 2000 года, хетчбэк.
Ответ: Swift 3 (прошлое поколение)

VAD73 ОГРОМНОЕ ТЕБЕ СПАСИБО! Мир не без добрых людей! :thumbsup:
 

Andry Gomel

Осваивающийся
16 Май 2010
20
1
0
Гомель
Езжу на ...
Suzuki Swift 1.0 2000 года, хетчбэк.
Ответ: Swift 3 (прошлое поколение)

Сегодня был на сервисе - по поводу шума от тормозов задних барабанных при торможении, сказали что грязь, надо вскрыть и почистить. Ещё сказали, что надо заменить левую шаровую опору и задний ступичный подшипник правый. Кто знает про скрытые нюансы при замене отпишитесь - заранее огромное спасибо. Шума, вибрации, стука не отмечалось до сервиса.
 

Blur

Продвинутый новичок
19 Июль 2010
30
3
0
46
Ростов-на-Дону
Езжу на ...
Suzuki Cultus 1.0
Ответ: Swift 3 (прошлое поколение)

Есть нюансы и при замене шаровой опоры и при замене ступичного подшипника. Они меняются ТОЛЬКО В СБОРЕ!!!!!!!!! Шаровая идет вместе с рычагом и сайлентблоками, а ступичный подшипник вместе со ступицей.
http://suzuki.epcdata.ru/cultus/121_aa44s/suspension/416/?full&picture
http://suzuki.epcdata.ru/cultus/121_aa44s/suspension/465/?full&picture
 

AlZh

Осваивающийся
6 Май 2010
16
1
3
Таганрог
Езжу на ...
Suzuki Swift 2001
Двигатель G13BB714577
Цвет Y29 SCUBA BLUE METALLIC





Andry Gomel

Осваивающийся
16 Май 2010
20
1
0
Гомель
Езжу на ...
Suzuki Swift 1.0 2000 года, хетчбэк.
Ответ: Swift 3 (прошлое поколение)

Blur - спасибо тебе за помощь. Вот заехал в сервис! Самое главное, что мастер, который смотрел машину мне не сказал о этих нюансах замены, и в двух автомагазинах запчастей этого тоже не сказали! Самое главное, что до поездки в сервис ничего по машине не беспокоило - стука в передней подвеске при проезде неровностей, увода машины на скорости, характерного гула при неисправности ступичного подшипника с ростом скорости, повышенного износа резины(хотя изначально был, но после сход-развала всё в норму пришло! Поди разбери этих сотрудников автосервисов у нас в Гомеле(Беларусь).:(
 

AlZh

Осваивающийся
6 Май 2010
16
1
3
Таганрог
Езжу на ...
Suzuki Swift 2001
Двигатель G13BB714577
Цвет Y29 SCUBA BLUE METALLIC

Andry Gomel

Осваивающийся
16 Май 2010
20
1
0
Гомель
Езжу на ...
Suzuki Swift 1.0 2000 года, хетчбэк.
Ответ: Swift 3 (прошлое поколение)

Если не ошибаюсь, то ступичный подшипник надо менять когда он подаст признаки неисправности? А то я сколько после сервиса не пытался прислушиваться к посторонним звукам в моей Suzuki - ничего кроме шипения слабого при выжимании холодного сцепления я не слышу!
 

AlZh

Осваивающийся
6 Май 2010
16
1
3
Таганрог
Езжу на ...
Suzuki Swift 2001
Двигатель G13BB714577
Цвет Y29 SCUBA BLUE METALLIC
Ответ: Swift 3 (прошлое поколение)

Правильно думаете.
 

Andry Gomel

Осваивающийся
16 Май 2010
20
1
0
Гомель
Езжу на ...
Suzuki Swift 1.0 2000 года, хетчбэк.
Ответ: Swift 3 (прошлое поколение)

А со сцеплением кого не спрошу - все говорят , что шипение это из-за неиспаравного выжимного подшипника. Даже не знаю, стоит или нет лезть его трогать, менять. Как ребята посоветуете.

Добавлено через 2 минуты
В понедельник поеду ещё в один сервис, который у нас якобы занимается японцами, корейцами. Только на диагностику, а про диагноз от другого сервисмена говорить не буду. Посмотрим что из этого выйдет. После обязательно расскажу каков результат.
 


AlZh

Осваивающийся
6 Май 2010
16
1
3
Таганрог
Езжу на ...
Suzuki Swift 2001
Двигатель G13BB714577
Цвет Y29 SCUBA BLUE METALLIC
Ответ: Swift 3 (прошлое поколение)

Он (выжимной) может шипеть не один год. Вот на моей уже погромче заработал. Выписал, уже в пути. Ждём...
 

Andry Gomel

Осваивающийся
16 Май 2010
20
1
0
Гомель
Езжу на ...
Suzuki Swift 1.0 2000 года, хетчбэк.
Ответ: Swift 3 (прошлое поколение)

Не жалею, что Suzuki Swift свой купил, машинка всем радеут. AlZh желаю удачной замены выжимного и долголетия вашему авто.
 

AlZh

Осваивающийся
6 Май 2010
16
1
3
Таганрог
Езжу на ...
Suzuki Swift 2001
Двигатель G13BB714577
Цвет Y29 SCUBA BLUE METALLIC
Ответ: Swift 3 (прошлое поколение)

Да,достойный неприхотливый агрегат. Удачи и вам! С праздником!
 

svask

Бывает здесь
26 Февраль 2007
57
1
0
Moscow
Ответ: Swift 3 (прошлое поколение)

Мне на сервисе сказали, что сайлент-блоки передние и задние на всех колесах менять надо. Swift 2000 года. Знает ли кто-нибудь:
1) Меняются ли они отдельно от других узлов? На Экзисте они есть.
2) По каким признакам в поведении машины можно судить об убитости сайлент-блоков?
3) Как долго можно ездить с изношенными сайлент-блоками? Пока что при езде в подвеске ничего не гремит.
 

AlZh

Осваивающийся
6 Май 2010
16
1
3
Таганрог
Езжу на ...
Suzuki Swift 2001
Двигатель G13BB714577
Цвет Y29 SCUBA BLUE METALLIC
Ответ: Swift 3 (прошлое поколение)

Мне на сервисе сказали, что сайлент-блоки передние и задние на всех колесах менять надо. Swift 2000 года. Знает ли кто-нибудь:
1) Меняются ли они отдельно от других узлов? На Экзисте они есть.
2) По каким признакам в поведении машины можно судить об убитости сайлент-блоков?
3) Как долго можно ездить с изношенными сайлент-блоками? Пока что при езде в подвеске ничего не гремит.
1)меняются.
2)например- http://amastercar.ru/articles/suspension_of_car_9.shtml
3)см.п.2)
Машинка 2000г-пробег прибл. 180тыс.км.,а с/л. не так уж дороги. Если стоят родные - заменил бы.
 
  • Нравится
Реакции: 1 человек